Характеристики
Описание
Купить балансир пружинный Tecna 9431 из наличия от 129200 ₽. Бесплатная доставка по СПб, МСК и РФ в день заказа, гарантия от 1 года, официальный сервис. Поможем выбрать, звоните: 8 962 611-24-19.
Особенности
- Ребристая герметичная моноблочная конструкция из алюминиевого сплава.
- Трос из нержавеющей стали.
- Червячный винт регулировки грузоподъемности.
- Дополнительная страховочная подвеска.
- Стопор для предотвращения падения груза в результате поломки пружины (>3 кг).
- Вращающаяся верхняя подвеска с вертлюжным крюком.
- Устройство блокировки груза на любой высоте.
- Регулируемый ограничитель хода.
- Конический барабан на шариковых подшипниках.
- Кабелепровод из материала, предотвращающего трение.
- Верхний вертлюжный крюк с шариковым подшипником.
- Верхний крюк с возможностью выравнивания.
- Видимый участок троса для осмотра.
- Инерционный пружинно-барабанный блок.
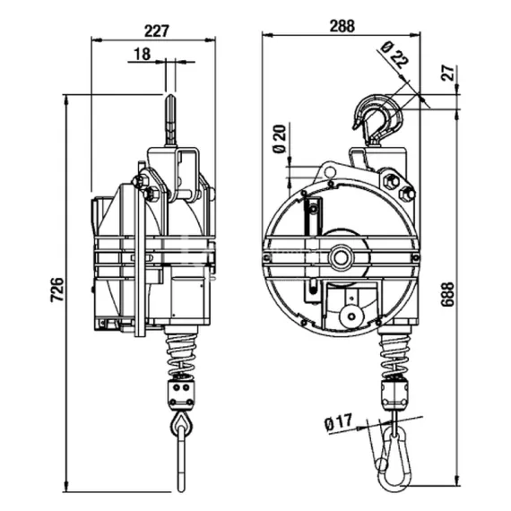
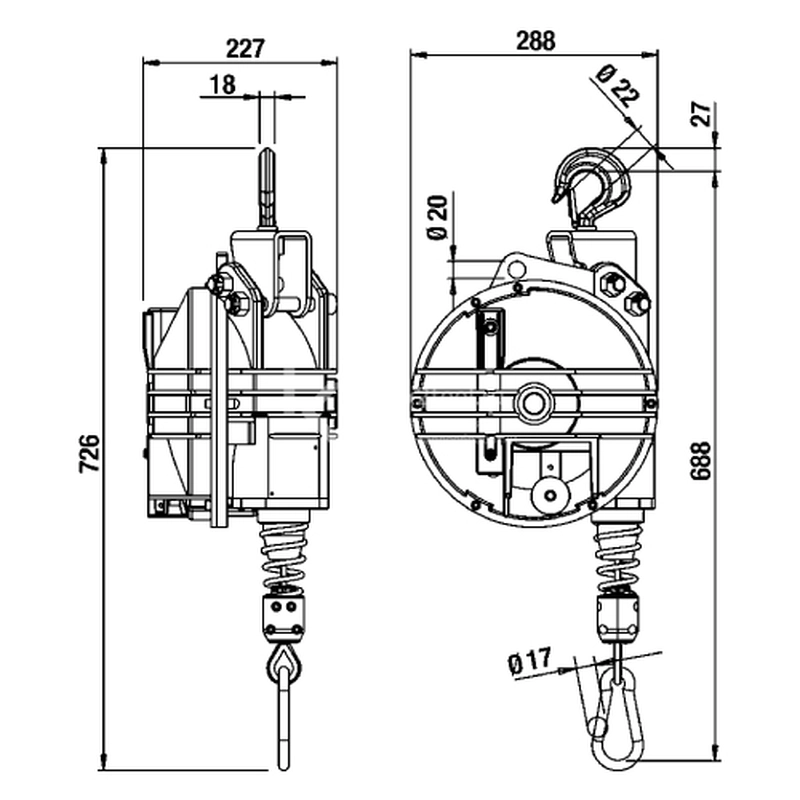
Технические характеристики
| Грузоподъемность | 15-20 кг |
| Величина хода | 3 м |
| Масса | 22,3 кг |
| Размер упаковки | 600×320×330 мм |














































